66安卓网:绿色免费的软件下载站! 手机游戏| 街机游戏| 新游| 人气手游| 最新更新

索尼新专利被曝光!与AMD合作提升PS5Pro画质

来源: 66安卓网 日期:2026-04-07 23:36:06
首页热门资讯游戏攻略 → 索尼新专利被曝光!与AMD合作提升PS5Pro画质

自2024年11月PS5 Pro正式发售起,索尼便一直专注于为这款性能顶尖的主机优化游戏的画质与分辨率表现。虽然PSSR技术在部分游戏里展现出了不错的效果,但仍有部分作品存在视觉上的缺陷和图像方面的问题,对游戏性能与画面的稳定性造成了影响。

为此,在系统架构师马克·塞尔尼的主导下,索尼与AMD展开了密切合作,打算把FSR4的关键技术要素整合到PS5 Pro的PSSR里。最近向WIPO提交的一份名为“图形处理”的专利,首次披露了PSSR 2.0的技术走向,预计这一更新会在接下来的几个月内和开发套件一起推出。

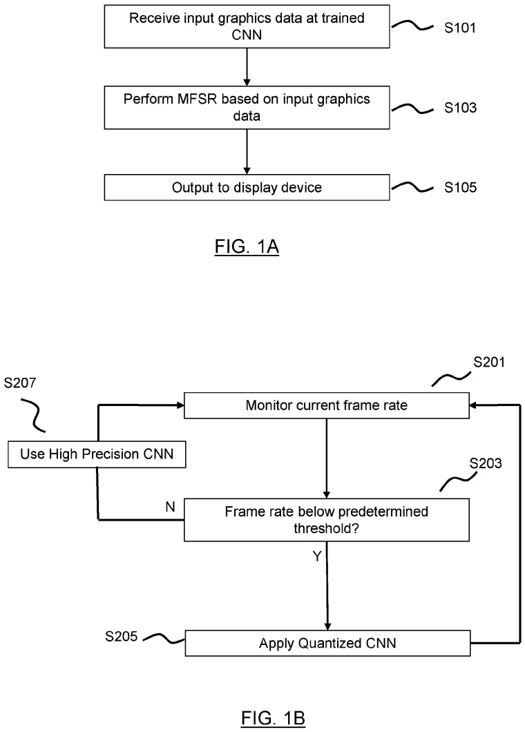
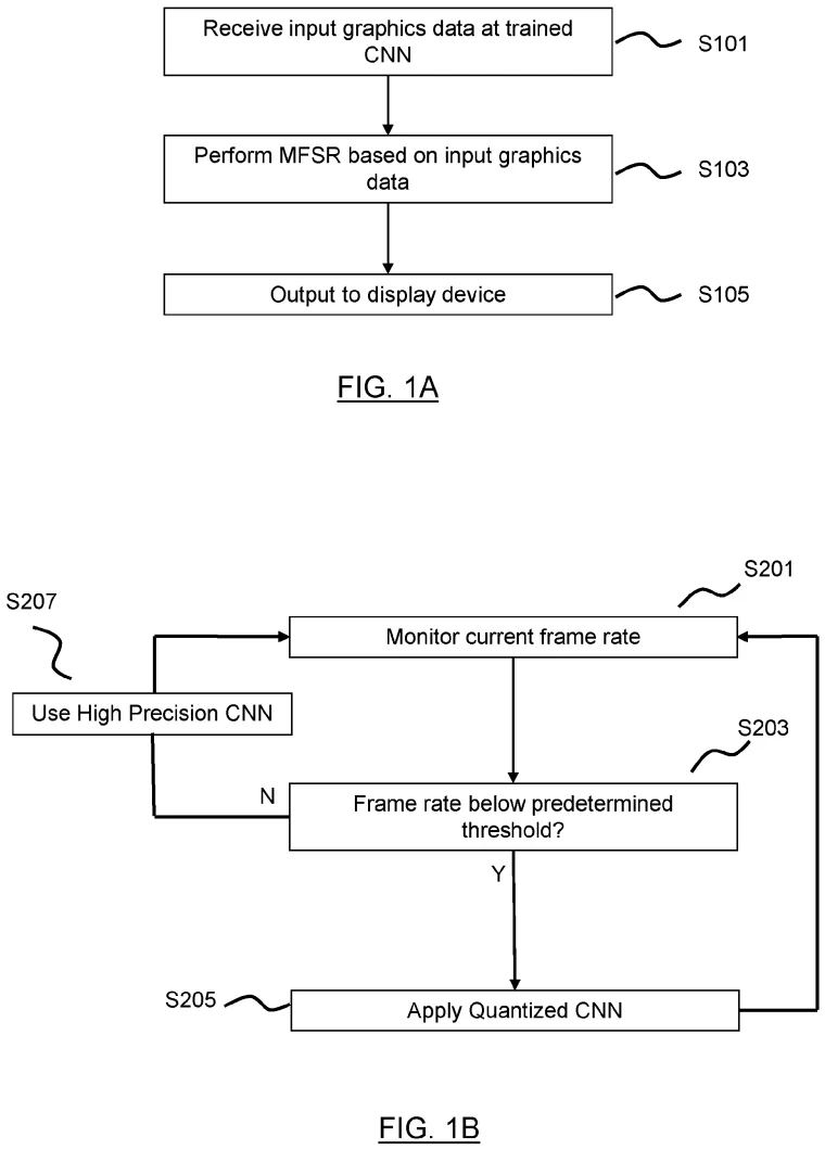
专利中介绍了一种创新方法,其目的是防止PS5 Pro游戏出现帧率下降和原生分辨率降低的情况。简单来说,开发者在未来可能不必为了运用PSSR而调低游戏的基础分辨率。

该专利的核心思路是实时量化。当游戏面临大数据量的处理压力时,帧率可能会在短时间内出现数秒的下降。PSSR 2.0的应对办法不是调低原生分辨率,而是暂时减少对卷积神经网络的运用,从而让性能保持稳定。

CNN也就是卷积神经网络,是PSSR在图像重建和分辨率提升方面所采用的机器学习系统。当帧率出现下降时,PSSR 2.0会减少对CNN的调用,在保证游戏原生分辨率不降低的情况下,让性能恢复到正常水平。

根据专利所述,实时量化功能会在图形处理器负载过高时主动降低神经网络的运行强度,这有助于缓解帧率波动问题,特别是在快节奏游戏场景中表现尤为突出。

目前这依旧是一个技术概念,它在实际游戏里的具体表现还需要进一步验证。要是能实现预期的效果,索尼就有希望解决玩家在PS5 Pro的PSSR功能上所遇到的主要问题之一。

相关资讯
相关下载
游戏攻略
更多+